| Наименование | Обозначение /(№ изм. КД) | Примечание |
|---|---|---|
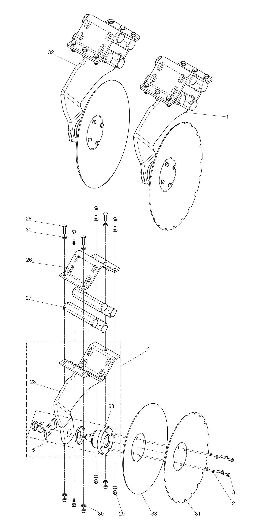
| Рабочий узел | РУ-32 00 00 00.000 | Задний ряд, диск с вырезом |
| Рабочий узел | РУ-32 00 00 00.000-01 | Задний ряд, диск гладкий |
| № пп | Обозначение /(№ изм. КД) | Наименование |
Кол-во |
|---|---|---|---|
|
1 |
РУ-32 00 00 00.000 |
Рабочий узел диск с вырезом |
1 |
|
2 |
10Т 016 ГОСТ 6402-70 |
Шайба |
4 |
|
3 |
ГОСТ 7798-70 |
Болт М10x1-6gx30.129.40.016 |
4 |
|
4 |
РУ-32 01 00 00.000 |
Стойка задняя в сборе |
1 |
|
5 |
ПУ-16 00 00 00.000 Изм.2/2 |
Подшипниковый узел |
1 |
|
23 |
РУ-32 01 01 00.000 |
Стойка задняя |
1 |
|
26 |
РУ-31 01 01 00.002 |
Скоба |
1 |
|
27 |
220х50 020 |
Демпфер |
4 |
|
28 |
ГОСТ 7798-70 |
Болт М12x1,5-6gх45.129.40Х.016 |
6 |
|
29 |
DIN 985 |
Гайка M12х1,5.10.016 DIN 985 |
6 |
|
30 |
ГОСТ 11371-78 |
Шайба C.12.016 |
12 |
|
31 |
510/5-LK-120 |
Диск с вырезом 1966.20.50-01-27-01 |
1 |
|
33 |
510/5-LK-120 |
Диск гладкий 1966.20.50-01-26-01 |
1 |
|
63 |
ЗЧ ПУ-16 СЕ-001 Изм. 2/2 |
Ступица в сборе |
1 |
| Наименование | Обозначение /(№ изм. КД) | Примечание |
|---|---|---|
| Подшипниковый узел | ПУ-16 00 00 00.000 | позиция 5 |
| № пп | Обозначение /(№ изм. КД) | Наименование |
Кол-во |
|---|---|---|---|
|
1 |
ПУ-16 00 00 00.000 Изм.2/2 |
Подшипниковый узел |
1 |
|
2 |
ПУ-16 00 00 00.001 Изм.3 |
Ступица |
1 |
|
3 |
60х85х13-16 БДМ-00МКК 020 |
Уплотнение кассетное |
1 |
|
4 |
DAC498443-ZZ 021 |
Подшипник 49х84х43 |
1 |
|
10 |
А85 ГОСТ 13943-86 |
Кольцо |
1 |
|
11 |
ПУ-16 00 00 00.002 изм.4 |
Ось |
1 |
|
12 |
ПУ-16 00 00 00.004 |
|
1 |
|
13 |
ПУ-16 00 00 00.003 |
Втулка |
1 |
|
14 |
ПУ-16 00 00 00.005 |
Пыльник |
1 |
|
15 |
ПУ-16 00 00 00.006 |
Пластина стопорная |
1 |
|
16 |
Ш-1-35х60х6.01 |
Шайба |
1 |
|
17 |
Г-М33х1,5х16.01 |
Гайка |
1 |
|
18 |
ПУ-16 00 00 00.007 |
Пыльник |
1 |
|
19 |
ЗЧ ПУ-16 СЕ-001 |
Ступица в сборе |
1 |



